安装环境:
Apache 2.4.46 php5.5 mysql5.6
安装步骤:
解压压缩包到根目录(必须独立目录) 然后把数据库sql.sql导入到数据库里面,可以用MYSQL数据库自带的工具,也可以用navicat数据库软件来导入数据库 数据库导入好后,需要修改数据库配置链接文件 Data/conf/db.php ,此文件用记事本打开会出错!!必须用 DW 或者 notepad++等专业编辑工具打开。 return array ( \\\\\\\\\\\\\\\'DB_TYPE\\\\\\\\\\\\\\\' => \\\\\\\\\\\\\\\'mysql\\\\\\\\\\\\\\\', \\\\\\\\\\\\\\\'DB_HOST\\\\\\\\\\\\\\\' => \\\\\\\\\\\\\\\'localhost\\\\\\\\\\\\\\\', 改为数据库地址 \\\\\\\\\\\\\\\'DB_PORT\\\\\\\\\\\\\\\' => \\\\\\\\\\\\\\\'3306\\\\\\\\\\\\\\\', \\\\\\\\\\\\\\\'DB_NAME\\\\\\\\\\\\\\\' => \\\\\\\\\\\\\\\'xxxxxx\\\\\\\\\\\\\\\', 改为实际数据库名 \\\\\\\\\\\\\\\'DB_USER\\\\\\\\\\\\\\\' => \\\\\\\\\\\\\\\'xxxxxx\\\\\\\\\\\\\\\', 改为实际用户名 \\\\\\\\\\\\\\\'DB_PWD\\\\\\\\\\\\\\\' => \\\\\\\\\\\\\\\'xxxxxx\\\\\\\\\\\\\\\', 改为实际密码 \\\\\\\\\\\\\\\'DB_PREFIX\\\\\\\\\\\\\\\' => \\\\\\\\\\\\\\\'tp_\\\\\\\\\\\\\\\', \\\\\\\\\\\\\\\'agent_version\\\\\\\\\\\\\\\' => 1, ); 安装好以后,登陆后台 账户admin 密码www.ohbbs.cn
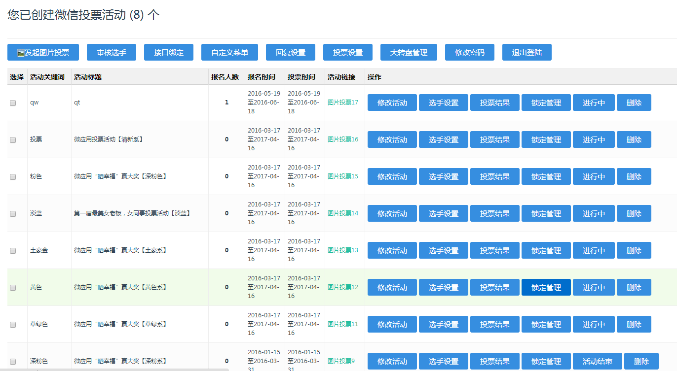
资源亲测前台截图:


![图片[3]-C145 PHP源码_微信投票管理系统源码下载独立版 含8种模版-万源库](无图/1622775972-7c1da80bac0fe17.jpg)
![图片[5]-C145 PHP源码_微信投票管理系统源码下载独立版 含8种模版-万源库](无图/1622775972-038f5713dcd0675.png)







